IMS B012 User Guide
and Reference Manual

_____________________________________________________________________

User Manual

INMOS Limited

January 1988
72-TRN-136-00

Contents

Preface
Disclaimer
1 Introduction
2 Hardware Description
 2.1 Link Connections
 2.2 P1 Links
 2.3 Switch Configuration Transputer
 2.4 Reset, Analyse and Error
 2.5 Link Termination
 2.6 Error Lights
 2.7 User Power Connector
 2.8 Uncommitted Pins
3 Configuration
 3.1 K1 Jumper Block
 3.2 SW1 DIL switch
4 Unpacking and Handling
 4.1 Unpacking the IMS B012
 4.2 Handling precautions
 4.3 Module Fitting and Handling
5 Standard Configurations
 5.1 Cables
 5.2 DIL Switch
 5.3 K1 Standard Configuration
 5.4 P1 Connections
 5.5 P2 Connections
 5.6 IMS B012 as a Slave to a Master Controller
 5.7 IMS B012 as a System Master
6 Example Networks
 6.1 Four-Connected Matrix
 6.2 Torus of 16 Processors
7 Testing
 7.1 T212/C004 Test
 7.2 P1 Edge Connector Test
A Connector Pinouts
B Mechanical Details
C HL1 Description
D Schematic

Preface

The IMS B012 is a eurocard TRAM motherboard designed to fit into standard card cages such as the INMOS ITEM.

The board is a member of a family of TRAM motherboards which have a compatible architecture. External signals enable it to control a subsystem of motherboards, or to be a component of such a subsystem.

For a general description of TRAMs and motherboards, refer to the TRAM Specification (INMOS Technical Note 29) and Module Motherboard Architecture (INMOS Technical Note 49) manuals. For information on the transputer itself, refer to the Transputer Reference Manual.

The IMS B012 is designed to be compatible with standard INMOS software such as the Transputer Development System (TDS) and the Module Motherboard Software (MMS). These can run either on a TRAM plugged into the IMS B012, or on another piece of hardware connected to the IMS B012. Reference should be made to the TDS user manuals and the MMS User Manual for details of how to compile and load programs into networks of TRAMs installed in motherboards.

This manual is divided into three main sections. The first describes the IMS B012 hardware, detailing the full capabilities of the board. The second covers installation, handling and configuring the board for the more common applications and user confidence testing. This section should be read carefully before the IMS B012 is unpacked or power is applied. The last contains factual details such as the connector pinouts and the full board schematic. It is assumed that the reader has an understanding of elementary electronics and a certain understanding of transputers which can be gained from the documents and manuals mentioned above and referred to in the text.

NOTE: For full information on how to unpack the IMS B012 see section 4.

Disclaimer

Every effort has been made to test the correct operation of this product.

INMOS reserves the right to make changes in specifications at any time and without notice. The information furnished by INMOS in this publication is believed to be accurate, but no responsibility is assumed for its use, nor any infringements of patents or other rights of third parties resulting from its use. No licence is granted under any patents, trademarks or other rights of the INMOS group of companies.

1 Introduction

The IMS B012 is a eurocard TRAM motherboard which is designed to fit into standard 6U, 220mm deep, DIN41494 (and IEC 297) card cages such as the INMOS ITEM. It has slots for up to 16 TRAMs. These are transputer-based circuit modules which communicate with the outside world by means of INMOS serial links (a link is a two-wire serial communications port which can run at up to 20 MHz).

The smallest TRAM is ”size 1”. Each of the 16 sites for modules on the IMS B012 will accept a size 1 module. Each module site, or ”slot” has connections for four INMOS links which are designated link 0, link 1, link 2 and link 3. TRAMs which are larger than size 1 can be mounted on the B012. A larger module occupies more than one slot and need not use all of the available link connections provided by the slots which it occupies.

The B012 has two IMS C004 link switch ICs. These devices are able to connect together links from the slots and 32 links which are available on an edge connector. The connections can be changed by control data passed to the board down a configuration link, which may come from some master system or from one of the TRAMs on the B012 itself.

2 Hardware Description

The 16 module sites or slots provided by the IMS B012 are 16-pin sockets in accordance with the TRAM Specification (INMOS Technical Note 29). The slots are numbered as shown on the board silk screen and in figure 1.

IMS B012 slot positions IMS B012 slot positions

Figure 1: IMS B012 slot positions

The IMS B012 has two DIN41612 96-way edge connectors, P1 and P2. These carry almost all signals and power to/from the board and are easily identified from the board silk screen printing and from figure 1. P2 carries power, pipeline and configuration links and system control signals (reset and analyse and error). Full details of the connections to every pin on P1 and P2 are to be found in appendix A.

NOTE - it is very important that you do not mix up P1 and P2. Unrecoverable damage to the IMS B012 will almost certainly result.

2.1 Link Connections

The link connections to the 16 slots are organised as follows:

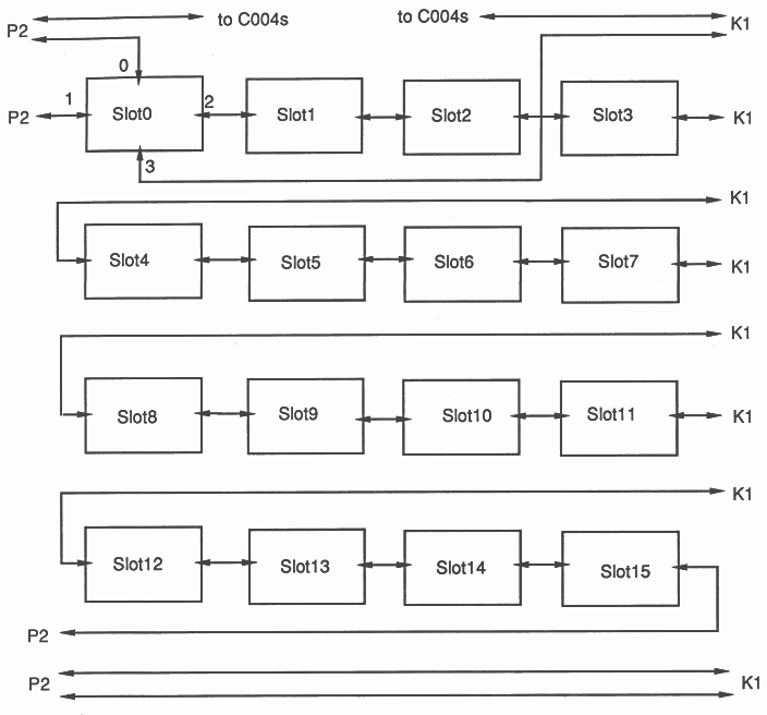
Two links from each slot (links 1 and 2) are used to connect the 16 slots as a 16-stage pipeline (in a pipeline, multiple processors are connected end-to-end as in figure 2). The pipeline is actually broken by jumper block K1. K1 will usually be jumpered in the standard way to give a 16-stage pipeline but can allow other combinations.

A module pipeline A module pipeline

Figure 2: A module pipeline

When modules larger than size 1 are used, the pipeline will be broken at the slots which are underneath large modules. Special plugs, called pipe-jumpers are provided (figure 3 shows a pipe jumper). These plug into the unused slot and connect the signals for links 1 and 2 together, thus connecting the pipeline through to the next TRAM in the chain.

A Pipe-Jumper A Pipe-Jumper

Figure 3: A Pipe-Jumper

Link 1 on slot 0 is wired to an edge connector (P2) and is called PipeHead. Link 2 on slot 15 is also taken to P2 and is called PipeTail. By connecting the pipe heads and tails from multiple boards together, a large, multi-board pipeline is created.

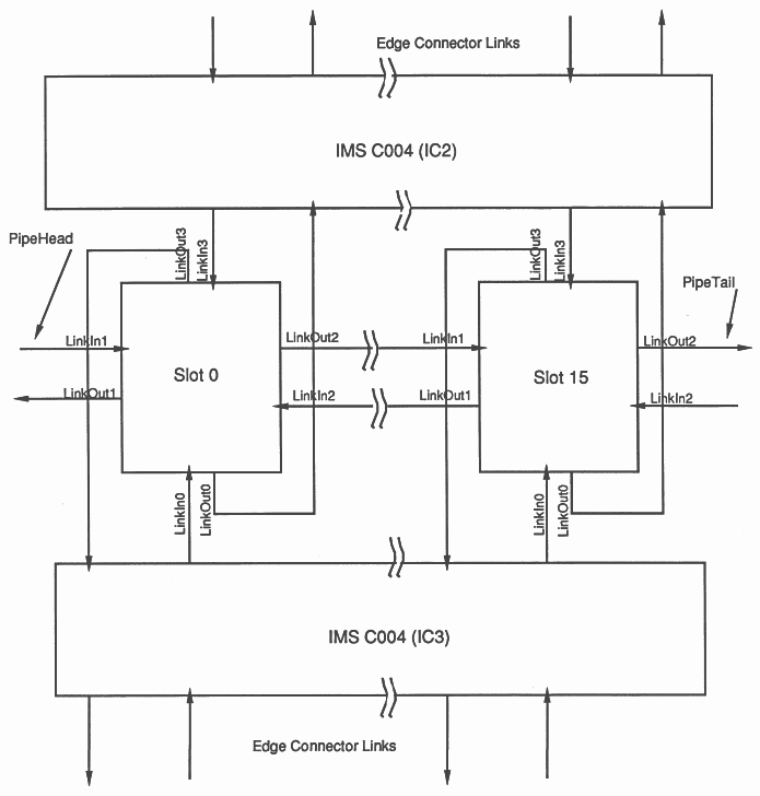
The other two links (links 0 and 3) of each slot are, in general, connected to two IMS C004 programmable link switches (For detailed information on the IMS C004 see the IMS C004 Link Switch Data Sheet).

The IMS C004 has 32 input pins and 32 output pins, plus an INMOS link (ConfigLink) used to send configuration information to the IMS C004. Any of the output pins can be ”connected” to any of the input pins, so a signal presented on the input pin would be buffered and transmitted on the output pin (with a slight delay).

The switch connections are made according to information sent to the IMS C004 down its ConfigLink. The two IMS C004s on the IMS B012 allow 64 link connections to be made under software control.

In most applications using the IMS C004, the device is treated as a 32-way Link Crossbar. This means that 32 INMOS links, each of which has two signals, may be connected to each other in an arbitrary fashion. That is to say that any of the 32 links can be ”connected” via the IMS C004 to any of the other 31 links. The IMS B012 uses the IMS C004s in a slightly different way, the difference being that the two signals from any particular link are routed through different IMS C004 devices. So if the LinkIn signal comes from one IMS C004, then the LinkOut signal will go to the other IMS C004. Figure 4 shows the general routing of link signals. A complete description of how the links on the IMS B012 are connected (in the standard configuration) is given in appendix C. The full circuit detail is shown on the schematic (appendix D).

Link Organisation - slots to IMS C004s Link Organisation - slots to
IMS C004s

Figure 4: Link Organisation - slots to IMS C004s

The link output signals from all the link 0s on all the slots (16 signals) are connected to 16 inputs of one IMS C004 (IC2). The link input signals from all the link 3s on all the slots (16 signals) are connected to 16 outputs of the same IMS C004. The remaining 16 inputs and 16 outputs of that IMS C004 are connected to an edge connector (P1).

The other IMS C004 (IC3) is connected similarly, except that 16 of its inputs are connected to the outputs of all link 3s on all the slots, and 16 of its outputs are connected to the inputs of all link 0s on all the slots. The remaining inputs and outputs are connected to P1.

The result of this connection scheme is that any link 0 on any module may be routed via the IMS C004s to any link 3 on any module, but may not be routed to any of the link 0s on any other module. The same is true for link 3s on any modules, they may not be routed to any other link 3. Each of the links 0 and 3 on any module may be routed to any of half of the link connections on edge connector P1 (see below).

By hardwiring two of the edge connector links together off the board, any of the slot link 0s can be routed to another slot link 0, via the two connected edge links.

MMS (Module Motherboard System) software which is available for all module motherboards allows the configuration of module interconnection to be achieved easily from a connection list description of the desired network.

Slot 0 link 0 is not directly connected to its appropriate IMS C004 pins. It is connected to edge connector P2, along with the respective pins from the IMS C004s. A link jumper connector which is supplied with the board can be used to make the connection between slot 0 link 0 and the IMS C004s. Slot 0 link 0 is taken to P2 in order to provide two links which are directly connected to module 0 on an edge connector. For some applications it will be useful to by-pass the IMS C004 switches in this way.

Similarly slot 0 link 3 is connected to pins on jumper-block K1. Usually K1 will be configured to connect slot 0 link 3 to the appropriate pins on the two IMS C004s. Because there are K1 pins which are connected to pins on edge connector P2, slot 0 link 3 can be wired to the edge connector instead of to the IMS C004s.

It is possible, using a non-standard configuration of K1, to take links 0, 1 and 3 from slot 0 off the board via P2. This is useful if slot 0 contains a TRAM which is controlling a system of other TRAMs or transputers.

Figure 5 shows the organisation of the pipeline links and the links which are available on P2 and K1.

Links Available on P2 and K1 Links Available on P2 and K1

Figure 5: Links Available on P2 and K1

IMS C004 link switches introduce a small delay into the signals which they switch. If multiple IMS C004s are introduced into a link signal path, as with multi-board IMS B012 systems, the link data rate may be reduced.

2.2 P1 Links

Connector P1 has three rows of 32 pins. All the pins in row ”a” are connected to ground. All the pins in row ”b” are link inputs and all the pins in row ”c” are link outputs. At each of the 32 positions along P1, the three pins from rows a, b and c together carry one link. These signals may be connected to devices with link ports in any way the user desires, as long as the correct electrical precautions required when dealing with links are taken into account. See section 2.5.

A special connector with a small PCB attached and press-fit pins fitted into this PCB is supplied with the IMS B012. This ”mini-backplane”, when fitted to P1, allows standard INMOS link cables to be plugged into P1 links. Note that these link cables are not designed for use in arduous physical environments (vibration, corrosion and pulling on the cable). This is why the IMS B012 is provided with standard DIN 41612 connectors. The user may design a connection method for attaching signals to the board which best suits the particular application.

The 32 links available on edge connector P1 are numbered, for reference, starting at ”edge link 0” on pins 1 (a, b and c) through to ”edge link 31” on pins 32 (a, b and c) (see figure 6). This numbering scheme is for convenience and there is no obvious mapping between these numbers (the order on the edge connector) and the links to which they are connected on the IMS C004s.

P1 Connections P1 Connections

Figure 6: P1 Connections

As explained in section 2.1, the IMS B012 link switching organisation, using the two IMS C004s, does not allow complete freedom to connect any link to any other link. The following table shows which P1 edge connector links (numbered as above) may be connected to which links on the slots (via the IMS C004 link switches):

P1 Edge LinkTo TRAM slot links
0 3
1 3
2 0
3 0
4 0
5 0
6 3
7 3
8 3
9 3
10 0
11 0
12 3
13 0
14 0
15 3
16 3
17 0
18 0
19 3
20 0
21 0
22 3
23 3
24 3
25 3
26 3
27 3
28 0
29 0
30 0
31 0

The link connections on connector P1 are intended mainly for communication between the IMS B012 and other boards. However, it is also possible to use these P1 links and the IMS C004 link switches to switch link connections for an external system. For instance, two IMS B012 boards in a card cage, unpopulated with TRAMs, may act as a ”programmable backplane” to other boards in the card cage. The connections between these boards and the IMS B012s being hard-wired.

2.3 Switch Configuration Transputer

The IMS C004 devices are controlled by an IMS T212 16-bit transputer. The IMS T212 has four links. Links 0 and 3 are connected to the two IMS C004s (link 0 to IC2 and link 3 to IC3). Link 1 is available on edge connector P2 and is called ConfigUp. Link 2 is also available on P2 and is called ConfigDown. The organisation of these links is shown in figure 7.

Link Configuration Organisation Link Configuration Organisation

Figure 7: Link Configuration Organisation

Configuration data for the IMS C004 is fed into one of the IMS T212’s links (ConfigUp) from the master configuration system which must be connected to P2. The configuration system could be one of the TRAMs on the IMS B012, provided that one of its links may be connected to ConfigUp.

The IMS T212 has 2 Kbytes of on-chip RAM. A transputer such as the IMS T212, after it is reset, is able to treat bytes sent to it down any of its links as ”boot code”. This is how the IMS T212 on the IMS B012 is used. The configuration host system sends a small program to the IMS T212. The code is stored in on-chip RAM and takes information from ConfigUp, routes data out to the two IMS C004s and sends on data out of ConfigDown (if required). The MMS (Module Motherboard System) handles all these software functions transparently. Full information on the IMS T212 is available in the IMS T212 Data Sheet.

In a multiple motherboard system it is intended that the ConfigUp and ConfigDown links from adjacent boards be connected together to form a configuration daisy-chain (see figure 8). Again the MMS is able to handle the configuration of multiple-board systems (see the MMS User Manual).

Multiple-Board Daisy-Chain Multiple-Board Daisy-Chain

Figure 8: Multiple-Board Daisy-Chain

This configuration architecture is fully compatible with other INMOS TRAM motherboards. Multiple board systems may contain different motherboard types. For instance, an IMS B008 fitted to an IBM PC/XT or PC/AT or compatible, may be part of a system containing multiple IMS B012 motherboards fitted into a card cage.

2.4 Reset, Analyse and Error

The Reset, Analyse and Error pins of TRAMs (and transputers) will be referred to collectively as ”system services” in this section. The system service signals are used to reset TRAMs and transputers, to place transputers in an analyse state (for debugging) and to carry the fact that an error has occurred in one processor in an array back to some host system which will deal with the error condition.

Some TRAMs and most evaluation boards are capable of generating the system services for other TRAMs and transputers. This is called a ”subsystem” control capability. The IMS B012 can be connected to another board with subsystem control and can also accommodate one TRAM with subsystem control. Furthermore, the IMS B012 can generate subsystem control signals for other boards.

System services for TRAMs are slightly different to system services for boards since the Reset and Analyse signals are active low for boards and active high for TRAMs.

The TRAMs and other circuitry on the IMS B012 splits into two sections for system services. System services for slot 0 come from the ”Up” pins on edge connector P2. System services for slots 1 to 15 and IC1 (the IMS T212) can either come from from ”Up” as slot 0, or from the Subsystem pins of slot 0, depending upon the state of switch 6.

The IMS T212 Error pin is unconnected so an error condition on IC1 cannot propagate into the TRAM array.

Note that slot 0 is the only slot which has subsystem pins and that in order to use these pins it is necessary to have a module with subsystem capability installed in slot 0. See section 4.3.

The system service signals for slot 0 are buffered and output on edge connector P2 as the ”Down” pins. This allows system services for multiple boards to be daisy-chained, the ”Down” of one board being connected to the ”Up” of the next.

Figure 9 shows the complete organisation of the system services (reset, analyse and error) on the board.

IMS B012 System Services Organisation IMS B012 System Services
Organisation

Figure 9: IMS B012 System Services Organisation

Reset and Analyse signals presented to the IMS B012 on connector P2 should have minimum low pulse widths of 1 millisecond. The subsystem pins of slot 0 are also buffered and are available on edge connector P2 as the ”Subsystem” pins.

The two IMS C004 link switches have a reset pin that is driven by a power-on-reset circuit. The IMS C004s can be also soft-reset by a command from the IMS T212.

The IMS T212 has 2 Kbytes of on-chip RAM. It also has an external memory interface. Circuitry on the IMS B012 is connected to the IMS T212’s external memory interface which allows the reset signal to the IMS C004s to be controlled from the IMS T212. By writing a one into bit position zero in any external memory word, the reset signal to the IMS C004s is asserted. Similarly, by writing a zero into bit position zero in any external memory word, the reset signal to the IMS C004s is de-asserted.

Note that if the IMS T212 (IC1) writes to external memory and sets the IMS C004 reset signal, subsequent resetting of the IMS T212 will not alter the level of the IMS C004 reset signal. Note also that if the IMS T212 reads from any location in its external memory space then the IMS C004 reset signal will be set to an unpredictable level.

2.5 Link Termination

INMOS serial links have two signals, LinkIn and LinkOut. If a link is to be connected over a distance or between boards then some extra discrete components are needed. The LinkOut signal must be series terminated to match its load, and the LinkIn should have a diode to VCC for ESD protection and a pulldown resistor to prevent the receiving transputer booting itself from a floating LinkIn (see figure 10). The whole question of link connections is covered in detail in INMOS Technical Note 18.

Link Termination and Protection Link Termination and Protection

Figure 10: Link Termination and Protection
  1. All links on TRAMs have the link termination and protection components on the module. The PipeHead and PipeTail link connections from P2 are directly connected to the module pins (and are therefore terminated). Link 0 from slot 0 is also directly connected to P2.
  2. The ConfigUp and ConfigDown link connections to the IMS T212 are connected to P2 via termination and protection components.
  3. All the links on P1 (from the IMS C004s) are terminated and protected.
  4. The link signals from the IMS C004s which would usually be connected to link 0 of slot 0 (via the jumper connector on P2) are terminated and protected.
  5. The link signals from the IMS C004s which would usually be connected to slot 0, link 3 (via K1) are terminated and protected since it is possible to route these signals directly to an edge connector (P2).

This means that any link available on the edge connector of an IMS B012 is correctly terminated and protected.

2.6 Error Lights

Three yellow LED indicators are mounted on the edge of the board, opposite P1 (see figure 11). An indicator will be lit when a module asserts its error pin. One LED, LD1, monitors error from slot 0. The other two LEDs, LD2 and LD3, monitor error from the modules on the front row (not including slot 0), and back row of slots respectively. The front row is the group of seven slots situated along the front-panel side of the board (not including slot 0). The back row is the group of eight slots situated along the opposite edge of the board (see figure 11).

IMS B012 - LEDs IMS B012 - LEDs

Figure 11: IMS B012 - LEDs

When the IMS B012 is installed in a card cage, LD1 is the lower of the LEDs; LD2 is the middle one and LD3 is the upper LED.

2.7 User Power Connector

A four pin power connector (designation P3) is mounted near the front edge of the board as shown in figure 12. P3 is wired to 0V, +5V and via a wide PCB track to 2 pins on P2. This connector type is the kind used on most floppy-disk drives and when the appropriate pins on P2 are wired to +12V, P3 may be used to power disk drives or similar equipment. Users may take other power signals to P3, such as ECL power supplies.

IMS B012 - P3 Position IMS B012 - P3 Position

Figure 12: IMS B012 - P3 Position

Pin 4 is connected to connected to 5V, pins 3 and 2 are connected to 0V, pin 1 is pins 3a and 3c on P2. Pin 4 is the top pin when the board is viewed as in figure 12.

These power pins can carry up to 3A of current and pin 1 can have up to 50V with respect to GND.

There is a pin post fitted in one corner of the board (marked GND on the silk screen). This is connected directly to the 0V plane and can be useful for attaching ’scope probe ground leads.

2.8 Uncommitted Pins

Nine pins on connector P2 are brought to a row of pads near to the connector at the edge of the board (see figures 13 and 14). These pads, designated P4, may be hard-wired into any circuitry on the B012 by the user for special applications. Possible uses would be RS-232 serial lines, analog signals and extra subsystem control signals. The remaining two pads of P4 are connected to ground. Pin posts can be inserted into the holes which make up P4. The posts could take a single-in-line connector similar to those used in the IMS B012 cable set.

These pins should carry no more than 50mA of current at no more than 25V with respect to GND. Note that these signals, although they are short, have not been designed to carry analog signals and may be susceptible to crosstalk.

IMS B012 - P4 IMS B012 - P4

Figure 13: IMS B012 - P4

IMS B012 - P4 Details IMS B012 - P4 Details

Figure 14: IMS B012 - P4 Details

3 Configuration

The IMS B012 has a six-way DIL switch (SW1) located between P1 and P2, and a 10-way header jumper-block located on the front panel. The locations of K1 and SW1 are shown in figure 15.

IMS B012 - K1 and SW1 IMS B012 - K1 and SW1

Figure 15: IMS B012 - K1 and SW1

3.1 K1 Jumper Block

K1 is a ten by two blocks of pin headers on a 0.1 inch grid. Small two-way connectors (jumpers) plug onto the pins, shorting two adjacent pins together. A number of these bumpers are supplied with the B012, they are also widely available from component distributors.

The pins which make up K1 are connected to link connections on some of the slots and to pins on P2. These connections are shown in appendix A. K1 allows the module pipeline to be broken between slots 3 and 4, 7 and 8 and 11 and 12.

Two link connections are wired from pins on P2 to pins on K1. These allow any two of the links available on K1 to be wired to the edge connector.

If a configuration which is not achievable with jumpers is desired then standard mini-wrap wire-wrap connections can be made between the posts of K1.

3.2 SW1 DIL switch

Each of the six switches which make up SW1 controls one signal on the board. When a switch is on the signal is low and when the switch is off the signal is high.

Switch 1
: When on, IC2 and IC3, the IMS C004s, operate at 10 Mbits/sec link speed. When off, the IMS C004s operate at 20 Mbits/s link speed.
Switch 2
: When on, LinkSpeedB to all slots on the board is low. When off, LinkSpeedB to all slots on the board is high.
Switch 3
: When on, LinkSpeedA to all slots on the board is low. When off, LinkSpeedA to all slots on the board is high.
Switch 4
: When on, IC1 (the IMS T212) links 1, 2 and 3 operate at 10 Mbits/s. When off, IC1 links 1, 2 and 3 operate at 20 Mbits/s.
Switch 5
: When on, IC1 (the IMS T212) link 0 operates at 10 Mbits/s. When off, IC1 links 1, 2 and 3 operate at 20 Mbits/s.
Switch 6
: When on, system services (reset and so on) for slots 1 to 15 comes from P2. When off, system services for slots 1 to 15 come from the subsystem pins on slot 0.

The TRAMs, IMS C004s and IMS T212 on the IMS B012 can operate with their links at either 10 Mbits/s or 20 Mbits/s. The configuration switch controls the link speeds for the TRAMs, the IMS C004s and the IMS T212 separately. In practice it is only of use to operate all the links on the board at the same speed.

SW1 DIL switch SW1 DIL switch

Figure 16: SW1 DIL switch

4 Unpacking and Handling

4.1 Unpacking the IMS B012

When you open the packing box in which the IMS B012 is shipped, you will find:

  1. A Packing List which you should check against the box contents immediately.
  2. A documentation pack, including this manual.
  3. A floppy disk, which contains some test software and example routines.
  4. A bag of pipe jumper-plugs.
  5. An anti-static box containing the IMS B012 board.
  6. A bag containing the standard IMS B012 cable set.

Do not open the box containing the IMS B012 until you have read the section on handling. Do not connect the IMS B012 to a power supply until you have read this manual and are fully confident that the connections are correct.

4.2 Handling precautions

To prevent damage from static discharge, certain precautions should be taken when removing the board from its protective bag:

  1. Carefully remove the board from the box, holding the board by the edges and touching the ground pin (located in one corner of the board). Avoid touching any components or connections.
  2. While manipulating switches and jumpers on the board and when inserting it into an ITEM or card cage, hold the board by its edges only.
  3. Do not change switch settings or link cabling or jumper configuration when power is applied to the board.
  4. If the board is being stored or shipped, standard anti-static handling precautions should be observed.

NOTE - Under no circumstances plug or unplug a TRAM with power applied to the IMS B012, permanent damage to both the TRAM and the motherboard could occur.

4.3 Module Fitting and Handling

TRAMs must be carefully installed and removed from the IMS B012, taking special care not to bend any of the module’s pins. The slots on the IMS B012 have pin 1 marked on the board silk-screen legend as a triangle (see figure 17). Pin 1 on the module to be installed should be marked, probably also with a triangle. Size 1 TRAMs are orientated alternately, so one TRAM is reversed to the one next to it. Larger modules are all orientated the same way round.

Pin 1 Pin 1

Figure 17: Pin 1

NOTE - plugging in a TRAM the wrong way round will/may not result in the destruction of the module or motherboard.

The IMS B012 has some components mounted on the top (as opposed to underside) of the board in the positions occupied by some slots (101 -3 under slots 6,7 and 14). When plugging a TRAM into these positions it will probably be necessary to fit ”stand-off” connectors to the TRAM pins. These are 8-way pin strips which plug into the IMS B012 and into which the TRAM plugs and raise the module above the motherboard, thus clearing the tops of the components on the motherboard. These stand-off strips are supplied fitted to INMOS TRAMs.

It is possible to remove IC1-3 and gain extra space under slots 6, 7 and 14. Some types of TRAM may then be mounted in any (or all) of the slots on the board without exceeding the inter-motherboard height restriction. Of course, the ability to use any link connections which are made via the IMS C004s or IMS T212 is lost. If these ICs are to be removed, please proceed carefully and use the correct PGA removal tool.

When the IMS B012, with TRAMs fitted, is likely to be subjected to vibration or thermal cycling then the TRAMs should be securely fastened to the IMS B012. There are holes drilled adjacent to each slot. Nylon bolts may be fitted through these holes to bolt down the TRAMs securely.

If a TRAM with Subsystem capability is to be installed in slot 0 (the only slot with sockets for the subsystem pins), then the three-pin strip supplied with the module must be fitted so that the three sockets on the module are connected to the three sockets on the motherboard. If a TRAM with subsystem capability is installed in a slot without subsystem capability then the three-pin strip must not be fitted.

5 Standard Configurations

The IMS B012 is designed to cover a very wide range of application types and has a large degree of user configuration. This section gives a standard configuration which is useful as a starting point and for testing the board’s operation.

5.1 Cables

INMOS has developed a standard cable set for evaluation boards. Link cables have 5-pin single-in-line connectors at each end with a key pin. Reset cables have 5-pin single-in-line connectors at each end with two key pins. The cables are available in a range of lengths. Using this system it is quick and easy to connect links and reset signals from board to board and system to system. These cables must not be used between equipment on different mains circuits and ideally should only be used within one system operating from the same 5V power supply.

The connectors on all INMOS boards and modules are designed to be compatible with these cables. The IMS B012 is provided with a cable set which includes many short link cables (which can be used to link edge links to each other), some standard and long link cables (which can be used to connect multiple boards together), a power cable, some system services cables (reset, analyse and error) and two DIN 41612 connectors which when plugged into P1 and P2 allow cables to be connected to the board. Figure 18 shows the power cable.

Power Cable Power Cable

Figure 18: Power Cable

One of these DIN 41612 96-way connectors has a mini-backplane with header-pins. This connector must be plugged into P1 if INMOS link cables are to be used on P1 links. This mini-backplane is pictured in figure 19.

Mini-Backplane Mini-Backplane

Figure 19: Mini-Backplane

The other DIN 41612 connector in the standard IMS B012 cable set is a back-to-back plug with some pins cut short and some pins sleeved (shown in figure 20). These are to mate with the keying on INMOS cables. This assembly goes into P2.

Back-to-Back Connector Back-to-Back Connector

Figure 20: Back-to-Back Connector

If extra INMOS cables are required, contact either INMOS or your local Sales Office for ordering details.

5.2 DIL Switch

Five of the DIL switches allow the board link speed to be set to either 10 Mbits/s or 20 Mbits/s. The other switch enables or disables the subsystem pins of slot 0 to control the other slots. Figure 21 shows the switch settings for links operating at 10 Mbits/s and with system control for slots 1-15 from the ”Up” pins on P2.

DIL Switch DIL Switch

Figure 21: DIL Switch

5.3 K1 Standard Configuration

Figure 22 is the jumper configuration for K1 which connects all 16 TRAMs in a pipeline.

K1 Standard Configuration K1 Standard Configuration

Figure 22: K1 Standard Configuration

5.4 P1 Connections

P1 takes 32 links off the board. With one of the mini-backplane connectors mentioned above plugged into P1, link cables may be connected to P1.

It must be remembered that any one of the links on P1 may only be connected to half of the links available on the slots, so a P1 link chosen at random may not be connectable to the slot link desired.

If a processor network which requires slot link 0s to be connected to each other or link 3s to be connected to each other then short link cables can be used to connect 16 links on P1 to 16 other links on P1. The desired connections can then be made via the edge connector links. The recommended configuration is shown below:

(a) For link 0 to link 0 connections:

Connect Edge LinkTo Edge Link
2 3
4 5
10 11
13 14
17 18
20 21
28 29
30 31

(b) For link 3 to link 3 connections:

Connect Edge LinkTo Edge Link
0 1
6 7
8 9
12 15
16 19
22 23
24 25
26 27

The MMS is able to take a network description which contains connections not available on the IMS B012 (such as a link 0 to link 0 connection) and make these connections by routing them via edge links on P1. These link connections would be routed from the slot to the edge link via the IMS C004s, then via a cable on P1 to another edge link on P1 and finally from that edge link to the other slot via the IMS C004s.

The MMS has a list of possible edge to edge connections available to it to make connections of this type. This list is the same as the list above. If a mini-backplane fitted with short link cables linking the edge links in the way described above is fitted to the IMS B012, then the MMS will be able to route these otherwise unavailable connections.

A ready-assembled mini-backplane with short link cables fitted, as detailed above, is included in the standard IMS B012 cable set. This connection arrangement is also used for one of the IMS B012 confidence tests.

5.5 P2 Connections

If the IMS B012 is to be used in an INMOS ITEM card cage then P2 connections are easy. The ITEM supplies power and has a built-in back-to-back connector which allows link and reset cables to be connected to P2. Thus the board can be removed easily from the card cage.

However, if the board is to be used stand-alone or in a card cage other than an ITEM, the back-to-back D1N41612 connector supplied may be useful (see figure 20). The purpose of this connector is to allow multiple small leads (link cables and reset cables) to be plugged and unplugged at the same time. In addition the back-to-back connector has keying pins either removed or sleeved to make it difficult to orientate standard INMOS link and reset cables incorrectly. Figure 24 shows the back-to-back connector pins as viewed from the ”rear”, i.e. looking towards the pins. The boxes represent plugged-in cables.

A good 5V power supply must be connected to the appropriate pins on P2. To make this easier a power cable is provided with the IMS B012 (see figure  18). The power cable can be identified by its two 5mm plugs, one red and one black. The red plug should be connected to the +5V terminal of the power supply, the black plug should be connected to the 0V terminal of the power supply. The current required by the IMS B012 depends upon what TRAMs are installed but your power supply should be rated to at least 3A. The maximum current requirement of one IMS B012 board is 13A. Do not use an extension cable for the power leads, long cables will give reduced voltage on the board and unreliable operation.

NOTE - connecting the power plugs the wrong way round or operating the board from a sub-standard power supply can result in the permanent destruction of the IMS B012 and TRAMs installed.

Usually slot 0 link 0 needs to be connected to links 22 on the IMS C004s. This standard configuration requires a connection to be made via P2. A single connector assembly is available in the standard IMS B012 cable set (termed the ”yellow” link jumper plug, shown in figure 23). The position of the jumper is shown in figure 24.

Users may wish to access slot 0, link 0 from P2, in this case the ”yellow” link jumper plug is not needed.

”Yellow Link Jumper Plug” ”Yellow Link Jumper Plug”

Figure 23: ”Yellow Link Jumper Plug”

5.6 IMS B012 as a Slave to a Master Controller

In a standard configuration where the IMS B012 is connected to a master-control system such as an IMS B004 or IMS B008, PipeHead and ConfigUp links would be connected to two links on the host system, with ”Up” system control port connected to the ”Subsystem” port of the host (figure 24).

The IMS B012 as a slave The IMS B012 as a slave

Figure 24: The IMS B012 as a slave

5.7 IMS B012 as a System Master

If a TRAM with ”subsystem” capability is installed in slot 0 then the IMS B012 can act in a stand-alone or master role. With switch 6 set off, the system control to the other modules on the board and the ”Down” system control pins on P2 are driven from the subsystem pins on the TRAM in slot 0.

Usually in this type of configuration the module in slot 0 will have at least 1 Mbyte of memory and can run the transputer Development System (TDS) and consequently the Module Motherboard System (MMS).

Slot 0, link 0 is connected to P2 as is slot 0, link 1 (PipeHead). Slot 0, link 2 is connected to slot 1, link 1. Slot 0, link 3 is connected to K1 and so can be wired to either the IMS C004s or to P2. When using the MMS or a similar system, slot 0, link 0 can be connected to ”ConfigUp” (link 1 of the IMS T212) via a short link cable connected to P2. This will allow the module in slot 0 to configure the array (via its link 0), to communicate with a host system such as an IBM PC/XT/AT or compatible via link 1 and to communicate with the other modules on the board and with other motherboards via links 2 and 3.

P2 P2

Figure 25: P2

6 Example Networks

The IMS B012 does not provide ”unlimited connectivity”, i.e. you cannot connect a particular link on a particular slot to any particular one of the other links on the other slot s. While there are restrictions on what can be connected to what, most useful networks are realisable.

In the diagrams of networks which follow, the solid black double arrows represent ”hard” connections and the shaded, grey double arrows represent ”soft” connections made via IMS C004 link switches.

”HL1” descriptions for these networks are shown. HL1 is the network description language used by the Module Motherboard System (MMS).

6.1 Four-Connected Matrix

Four-Connected Matrix Four-Connected Matrix

Figure 26: Four-Connected Matrix

This array retains the 16-slot pipeline and connects links 0 and 3 on each slot so as to connect the slots in a square matrix. Links from each side of the array are brought to the edge connector (P1) so the array can be extended ”lengthways” by using multiple IMS B012 boards. Obviously size 1 modules are required to realise this array.

Here is the ”HL1” description required for the MMS to configure this array:

  SOFTWIRE  
  SLOT   0,0 TO EDGE 2  
  SLOT   0,3 TO SLOT  4,0  
  SLOT   4,3 TO SLOT  8,0  
  SLOT   8,3 TO SLOT 12,0  
  SLOT  12,3 TO EDGE 6  
  SLOT   1,0 TO EDGE 3  
  SLOT   1,3 TO SLOT  5,0  
  SLOT   5,3 TO SLOT  9,0  
  SLOT   9,3 TO SLOT 13,0  
  SLOT  13,3 TO EDGE 7  
  SLOT   2,0 TO EDGE 4  
  SLOT   2,3 TO SLOT  6,0  
  SLOT   6,3 TO SLOT 10,0  
  SLOT  10,3 TO SLOT 14,0  
  SLOT  14,3 TO EDGE 8  
  SLOT   3,0 TO EDGE 5  
  SLOT   3,3 TO SLOT  7,0  
  SLOT   7,3 TO SLOT 11,0  
  SLOT  11,3 TO SLOT 15,0  
  SLOT  15,3 To EDGE 9  
  END

6.2 Torus of 16 Processors

Torus Torus

Figure 27: Torus

This network, while being of little practical use since no connections are available to the outside, does illustrate the use of K1 and external edge connections in realising a connection pattern not available with a pipeline.

Slot 3 link 2 is jumpered via K1 to P1 and then wired via a short link cable on P1 to PipeHead (slot 0 link 1). Slot 4 and 7 and 11 and 8 are connected via K1 as shown in figure 28. Slot 12 link 1 is jumpered via K1 to P1 and then wired via a short link cable to slot 15 link 2 (PipeTail).

K1 Configuration for Torus K1 Configuration for Torus

Figure 28: K1 Configuration for Torus

Here is the ”HL1” description required for the MMS to configure this array:

  SOFTWIRE  
  SLOT   0,0 TO SLOT 12,3  
  SLOT   0,3 TO SLOT  4,0  
  SLOT   4,3 TO SLOT  8,0  
  SLOT   8,3 TO SLOT 12,0  
  SLOT   1,0 TO SLOT 13,3  
  SLOT   1,3 TO SLOT  5,0  
  SLOT   5,3 TO SLOT  9,0  
  SLOT   9,3 TO SLOT 13,0  
  SLOT   2,0 TO SLOT 14,3  
  SLOT   2,3 TO SLOT  6,0  
  SLOT   6,3 TO SLOT 10,0  
  SLOT  10,3 TO SLOT 14,0  
  SLOT   3,0 TO SLOT 14,3  
  SLOT   3,3 TO SLOT  7,0  
  SLOT   7,3 TO SLOT 11,0  
  SLOT  11,3 TO SLOT 15,0  
  END

7 Testing

The user can perform a confidence test on the IMS B012, provided that the following equipment is available:

  1. A PC or compatible computer, fitted with a board capable of running the TDS - an IMS B004 or IMS B008 fitted with an appropriate TRAM (IMS B403, IMS B404 or IMS B405).
  2. A set of test software routines for the IMS B012 (supplied). You will need to have the test programs in the current directory, ready to run the tests. The test programs are run directly from MS-DOS (PC-DOS) and do not require the TDS.

In the following procedure, links from the board in the PC (IMS B004 or TRAM on an IMS B008) will be referred to as ”link 0”, ”link 1” and so on.

The link speed of the master board in the PC must be set to 10 Mbits/s. This is the standard speed for an IMS B004.

The IMS B012 must be configured as in the Standard Configurations section of this manual (Switches, K1 and P2 connections).

A board which does not pass these tests certainly does not function, or is incorrectly configured. A board which does pass these tests, on the other hand, may be faulty in some function not tested.

7.1 T212/C004 Test

This test will confirm that there is power applied to the board, that the clock is present and that connections are made correctly to the testing board.

To run the test, first connect link 1 to ConfigUp on the B012 and link 2 to ConfigDown on the B012. Connect ”subsystem” from the testing system to ”Up” on the B012.

Power up the IMS B012.

Run the program T2TEST (type T2TEST <CR>). The results of the test are displayed on the screen and are self-explanatory.

7.2 P1 Edge Connector Test

This test will confirm that there is power applied to the board, that the clock is present and that connections to P1 are functioning. It also tests the IMS C004s fairly thoroughly and exercises the IMS T212, as does the first test.

You will need a mini-backplane with short link cables plugged into it in the way detailed in section 5.3. Now remove the short link cable which connects ”edge 0” to ”edge 1” on the mini-backplane. Plug the mini-backplane into P1 on the IMS B012

To run the test, first connect link 2 to ”edge 0” on P1 and link 3 to ”edge 1” on P1. Connect ”subsystem” from the testing system to ”Up” on the B012.

Power up the IMS B012.

Run the program EDGETEST (type EDGETEST <CR>). The results of the test are displayed on the screen and are self-explanatory.

A Connector Pinouts

Pins connections for P1, P2 and K1 are shown, note that for P1 and P2 these tables list row c first, then row b and then row a; thus the tables show the visual location of the pins when the connectors are viewed from the rear.





c b a




1IC3linkout0 IC2linkin0 GND
2IC3linkout2 IC2linkin2 GND
3IC3linkout4 IC2linkin4 GND
4lC3linkout5 IC2linkin5 GND
5IC3linkout6 IC2linkin6 GND
6IC3linkout3 IC2linkin3 GND
7IC3linkout1 IC2linkin1 GND
8IC3linkout7 IC2linkin7 GND
9IC3linkout29lC2linkin29GND
10IC3linkout30IC2linkin30GND
11IC3linkout31IC2linkin31GND
12IC3linkout28IC2linkin28GND
13IC3linkout24IC2linkin24GND
14IC3linkout25IC2linkin25GND
15IC3linkout26IC2linkin26GND
16IC3linkout27IC2linkin27GND
17IC3linkout17IC2linkin17GND
18IC3linkout19IC2linkin19GND
19IC3linkout22IC2linkin22GND
20IC3linkout23IC2linkin23GND
21IC3linkout16IC2linkin16GND
22IC3linkout18IC2linkin18GND
23IC3linkout21IC2linkin21GND
24IC3linkout20IC2linkin20GND
25IC3linkout10IC2linkin10GND
26IC3linkout13IC2linkin13GND
27IC3linkout14IC2linkin14GND
28IC3linkout11IC2linkin11GND
29IC3linkout8 IC2linkin8 GND
30IC3linkout9 IC2linkin9 GND
31IC3linkout12IC2linkin12GND
32IC3linkout15IC2linkin15GND





Table 1: P1 pinout





c b a




1GND GND GND
2VCC VCC VCC
3PAUX nc PAUX
4VCC VCC VCC
5GND GND GND
6VCC VCC VCC
7GND GND GND
8nc nc nc
9slot0linkout1 slot0linkout0slot15linkout2
10slot0linkin1 slot0linkin0 slotl5linkin2
11GND GND GND
12nc nc nc
13GND GND GND
14nc nc nc
15IC1linkout1 IC3linkout22IC1linkout2
16IC1linkin1 IC2linkin22 IC1linkin2
17GND GND GND
18nc nc nc
19P4/3 nc P4/2
20P4/4 nc nc
21P4/5 GND nc
22P4/6 nc notSubReset
23P4/7 K1/11 notSubAnalyse
24P4/8 K1/10 notSubError
25P4/9 GND GND
26P4/10 nc nc
27nc GND nc
28notUpReset nc notDownReset
29notUpAnalyseK1/3 notDownAnalyse
30notUpError K1/18 notDownError
31GND GND GND
32GND GND GND





Table 2: P2 pinout

1IC3linkin23 20IC2linkout23
2slot0linkout3 19slot0linkin3
3P2/29b 18P2/30b
4slot12linkout117slot12linkin1
5slot11linkin2 16slot11linkout2
6slot8linkout1 15slot8linkin1
7slot7linkin2 14slot7linkout2
8slot4linkout1 13slot4linkin1
9slot3linkin2 12slot3linkout2
10P2/24b 11P2/23b

Table 3: K1 pinout

B Mechanical Details

The IMS B012 is designed to accord with DIN 41494 and IEC 297 standards. Nominal board thickness is 1.6mm. The supplied front panel width is 4HP (approx. 20mm). This is compatible with a board-to-board pitch in a card cage of 0.8in. M2.5 fastening bolts are provided on the front panel, these mates with tapped holes in the card cage and fix the board securely. Front panel handles allow the board to be removed from the card cage (by un-screwing the retaining bolts and pulling hard on the handles). Note that the front panel is required when operating the IMS B012 in a card cage, both for mechanical rigidity and to give correct cooling air flow.

No components protrude more than 2.47mm below the surface of the board. To fit in a 0.81n pitch rack, no component should protrude more than 13.7mm above the surface of the board. This is a function of the modules installed on the board.

Adequate cooling air flow must be provided to maintain the components on the board within their operating temperature. Air flow should run parallel to the board surface and parallel to the front panel. The amount of heat dissipated by the board depends upon the TRAMs fitted. With no modules the IMS B012 dissipates no more than 3W. With modules fitted, the maximum dissipation (from 5v supply) is 67.5W. The cooling air flow required for a particular application will probably need to be determined empirically.

A single board operating in static air at room temperature (and not in a rack) will usually not need forced air cooling. This kind of set-up should only be used for lab work and development work. High reliability is not to be expected from boards which are not provided with adequate cooling. Some TRAM types may require forced air cooling if they have high power dissipation components such as very fast PALS and fast A-D converters.

The two DIN 41612 (603-2-IEC-C096Mx-xxx) connectors (P1 and P2) have class 2 contact finish (1 micron gold) and are specified to give 400 mating cycles minimum.

C HL1 Description

Listed below is the ”HL1” description file for the IMS B012. This file is used by the MMS (Module Motherboard System) and completely describes the link connectivity of the board in the standard configuration.

  SIZES  
    T2 1  
    C4  2  
    SLOT 16  
    EDGE 32  
  END  
 
 
  T2CHAIN  
    T2 0, LINK 0  C4 0  
    T2 0, LINK 3  C4 1  
  END  
 
 
  HARDWIRE  
  SLOT  0, LINK 2 TO SLOT  1, LINK 1  
  SLOT  1, LINK 2 TO SLOT  2, LINK 1  
  SLOT  2, LINK 2 TO SLOT  3, LINK 1  
  SLOT  3, LINK 2 TO SLOT  4, LINK 1  
  SLOT  4, LINK 2 TO SLOT  5, LINK 1  
  SLOT  5, LINK 2 TO SLOT  6, LINK 1  
  SLOT  6, LINK 2 TO SLOT  7, LINK 1  
  SLOT  7, LINK 2 TO SLOT  8, LINK 1  
  SLOT  8, LINK 2 TO SLOT  9, LINK 1  
  SLOT  9, LINK 2 TO SLOT 10, LINK 1  
  SLOT 10, LINK 2 TO SLOT 11, LINK 1  
  SLOT 11, LINK 2 TO SLOT 12, LINK 1  
  SLOT 12, LINK 2 TO SLOT 13, LINK 1  
  SLOT 13, LINK 2 TO SLOT 14, LINK 1  
  SLOT 14, LINK 2 TO SLOT 15, LINK 1  
 
 
  C4 0, LINK 22,I TO SLOT  0, LINK 0,O  
  C4 1, LINK 22,O TO SLOT  0, LINK 0,I  
 
  C4 1, LINK 23,I TO SLOT  0, LINK 3,O  
  C4 0, LINK 23,O TO SLOT  0, LINK 3,I  
 
  C4 0, LINK  5,I TO SLOT  1, LINK 0,O  
  C4 1, LINK  5,O TO SLOT  1, LINK 0,I  
 
  C4 1, LINK  2,I TO SLOT  1, LINK 3,O  
  C4 0, LINK  2,O TO SLOT  1, LINK 3,I  
 
  C4 0, LINK  4,I TO SLOT  2, LINK 0,O  
  C4 1, LINK  4,O TO SLOT  2, LINK 0,I  
 
  C4 1, LINK  0,I TO SLOT  2, LINK 3,O  
  C4 0, LINK  0,O TO SLOT  2, LINK 3,I  
 
  C4 0, LINK 19,I TO SLOT  3, LINK 0,O  
  C4 1, LINK 19,O TO SLOT  3, LINK 0,I  
 
  C4 1, LINK 17,I TO SLOT  3, LINK 3,O  
  C4 0, LINK 17,O TO SLOT  3, LINK 3,I  
 
  C4 0, LINK 18,I TO SLOT  4, LINK 0,O  
  C4 1, LINK 18,O TO SLOT  4, LINK 0,I  
 
  C4 1, LINK 21,I TO SLOT  4, LINK 3,O  
  C4 0, LINK 21,O TO SLOT  4, LINK 3,I  
 
  C4 0, LINK  3,I TO SLOT  5, LINK 0,O  
  C4 1, LINK  3,O TO SLOT  5, LINK 0,I  
 
  C4 1, LINK  1,I TO SLOT  5, LINK 3,O  
  C4 0, LINK  1,O TO SLOT  5, LINK 3,I  
 
  C4 0, LINK  6,I TO SLOT  6, LINK 0,O  
  C4 1, LINK  6,O TO SLOT  6, LINK 0,I  
 
  C4 1, LINK  7,I TO SLOT  6, LINK 3,O  
  C4 0, LINK  7,O TO SLOT  6, LINK 3,I  
 
  C4 0, LINK 16,I TO SLOT  7, LINK 0,O  
  C4 1, LINK 16,O TO SLOT  7, LINK 0,I  
 
  C4 1, LINK 20,I TO SLOT  7, LINK 3,O  
  C4 0, LINK 20,O TO SLOT  7, LINK 3,I  
 
  C4 0, LINK  9,I TO SLOT  8, LINK 0,O  
  C4 1, LINK  9,O TO SLOT  8, LINK 0,I  
 
  C4 1, LINK 14,I TO SLOT  8, LINK 3,O  
  C4 0, LINK 14,O TO SLOT  8, LINK 3,I  
 
  C4 0, LINK 28,I TO SLOT  9, LINK 0,O  
  C4 1, LINK 28,O TO SLOT  9, LINK 0,I  
 
  C4 1, LINK 29,I TO SLOT  9, LINK 3,O  
  C4 0, LINK 29,O TO SLOT  9, LINK 3,I  
 
  C4 0, LINK 31,I TO SLOT 10, LINK 0,O  
  C4 1, LINK 31,O TO SLOT 10, LINK 0,I  
 
  C4 1, LINK 30,I TO SLOT 10, LINK 3,O  
  C4 0, LINK 30,O TO SLOT 10, LINK 3,I  
 
  C4 0, LINK 15,I TO SLOT 11, LINK 0,O  
  C4 1, LINK 15,O TO SLOT 11, LINK 0,I  
 
  C4 1, LINK 11,I TO SLOT 11, LINK 3,O  
  C4 0, LINK 11,O TO SLOT 11, LINK 3,I  
 
  C4 0, LINK 12,I TO SLOT 12, LINK 0,O  
  C4 1, LINK 12,O TO SLOT 12, LINK 0,I  
 
  C4 1, LINK 13,I TO SLOT 12, LINK 3,O  
  C4 0, LINK 13,O TO SLOT 12, LINK 3,I  
 
  C4 0, LINK 25,I TO SLOT 13, LINK 0,O  
  C4 1, LINK 25,O TO SLOT 13, LINK 0,I  
 
  C4 1, LINK 27,I TO SLOT 13, LINK 3,O  
  C4 0, LINK 27,O TO SLOT 13, LINK 3,I  
 
  C4 0, LINK 26,I TO SLOT 14, LINK 0,O  
  C4 1, LINK 26,O TO SLOT 14, LINK 0,I  
 
  C4 1, LINK 24,I TO SLOT 14, LINK 3,O  
  C4 0, LINK 24,O TO SLOT 14, LINK 3,I  
 
  C4 0, LINK  8,I TO SLOT 15, LINK 0,O  
  C4 1, LINK  8,O TO SLOT 15, LINK 0,I  
 
  C4 1, LINK 10,I TO SLOT 15, LINK 3,O  
  C4 0, LINK 10,O TO SLOT 15, LINK 3,I  
 
 
  C4 1, LINK  0,O TO EDGE  0,I  
  C4 0, LINK  0,I TO EDGE  0,O  
 
  C4 1, LINK  2,O TO EDGE  1,I  
  C4 0, LINK  2,I TO EDGE  1,O  
 
  C4 0, LINK  4,O TO EDGE  2,I  
  C4 1, LINK  4,I TO EDGE  2,O  
 
  C4 0, LINK  5,O TO EDGE  3,I  
  C4 1, LINK  5,I TO EDGE  3,O  
 
  C4 0, LINK  6,O TO EDGE  4,I  
  C4 1, LINK  6,I TO EDGE  4,O  
 
  C4 0, LINK  3,O TO EDGE  5,I  
  C4 1, LINK  3,I TO EDGE  5,O  
 
  C4 1, LINK  1,O TO EDGE  6,I  
  C4 0, LINK  1,I TO EDGE  6,O  
 
  C4 1, LINK  7,O TO EDGE  7,I  
  C4 0, LINK  7,I TO EDGE  7,O  
 
  C4 1, LINK 29,O TO EDGE  8,I  
  C4 0, LINK 29,I TO EDGE  8,O  
 
  C4 1, LINK 30,O TO EDGE  9,I  
  C4 0, LINK 30,I TO EDGE  9,O  
 
  C4 0, LINK 31,O TO EDGE 10,I  
  C4 1, LINK 31,I TO EDGE 10,O  
 
  C4 0, LINK 28,O TO EDGE 11,I  
  C4 1, LINK 28,I TO EDGE 11,O  
 
  C4 1, LINK 24,O TO EDGE 12,I  
  C4 0, LINK 24,I TO EDGE 12,O  
 
  C4 0, LINK 25,O TO EDGE 13,I  
  C4 1, LINK 25,I TO EDGE 13,O  
 
  C4 0, LINK 26,O TO EDGE 14,I  
  C4 1, LINK 26,I TO EDGE 14,O  
 
  C4 1, LINK 27,O TO EDGE 15,I  
  C4 0, LINK 27,I TO EDGE 15,O  
 
  C4 1, LINK 17,O TO EDGE 16,I  
  C4 0, LINK 17,I TO EDGE 16,O  
 
  C4 0, LINK 19,O TO EDGE 17,I  
  C4 1, LINK 19,I TO EDGE 17,O  
 
  C4 0, LINK 22,O TO EDGE 18,I  
  C4 1, LINK 22,I TO EDGE 18,O  
 
  C4 1, LINK 23,O TO EDGE 19,I  
  C4 0, LINK 23,I TO EDGE 19,O  
 
  C4 0, LINK 16,O TO EDGE 20,I  
  C4 1, LINK 16,I TO EDGE 20,O  
 
  C4 0, LINK 18,O TO EDGE 21,I  
  C4 1, LINK 18,I TO EDGE 21,O  
 
  C4 1, LINK 21,O TO EDGE 22,I  
  C4 0, LINK 21,I TO EDGE 22,O  
 
  C4 1, LINK 20,O TO EDGE 23,I  
  C4 0, LINK 20,I TO EDGE 23,O  
 
  C4 1, LINK 10,O TO EDGE 24,I  
  C4 0, LINK 10,I TO EDGE 24,O  
 
  C4 1, LINK 13,O TO EDGE 25,I  
  C4 0, LINK 13,I TO EDGE 25,O  
 
  C4 1, LINK 14,O TO EDGE 26,I  
  C4 0, LINK 14,I TO EDGE 26,O  
 
  C4 1, LINK 11,O TO EDGE 27,I  
  C4 0, LINK 11,I TO EDGE 27,O  
 
  C4 0, LINK  8,O TO EDGE 28,I  
  C4 1, LINK  8,I TO EDGE 28,O  
 
  C4 0, LINK  9,O TO EDGE 29,I  
  C4 1, LINK  9,I TO EDGE 29,O  
 
  C4 0, LINK 12,O TO EDGE 30,I  
  C4 1, LINK 12,I TO EDGE 30,O  
 
  C4 0, LINK 15,O TO EDGE 31,I  
  C4 1, LINK 15,I TO EDGE 31,O  
  END

D Schematic

[Picture] [Picture]

[Picture] [Picture]

[Picture] [Picture]

[Picture] [Picture]

[Picture] [Picture]

[Picture] [Picture]